| Units | Price/unit after discount | Applied Discount |
| 1-9 | £ 523.73 | 0% |
| 10-19 | £ 471.36 | 10% |
| 20-49 | £ 445.17 | 15% |
| 50-99 | £ 418.98 | 20% |
| 100+ | £ 366.61 | 30% |
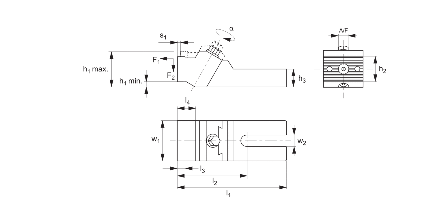
Body: steel, tempered.
Clamping jaws: steel, case hardened.
Reversible clamping jaws with smooth side for machined workpieces and serrated side for rough clamping surfaces.
The large clamping surface makes these solid clamping jaws suitable for laterally clamping workpieces. We recommend using two clamping studs for fastening the solid clamping jaw on the machine table. Screws for T-slots No. 21000 - two screws per clamping jaw - should be ordered separately as a fastening bolt depending on the width of the machine T-slot.
*Clamping forces F1 and F2 depend on the T-slot size.
Company registration no: 00496138
Company VAT number GB 408154022
Alexia House, Glenmore Business Park
PO19 7BJ Chichester
United Kingdom
0333 207 4497
sales@wixroyd.com


























































































































